リソース
プログラムコードや回路図、ノウハウ等、公開リソースの置き場所です。
ezSpectra API
ezSpectra API関係の資料です。
超巨大水晶発振器
Maker Faire Tokyo 2012で展示しました、超巨大水晶発振器の回路図です。重量約5kgの宝飾用の水晶の人工結晶をそのまま発振回路に繋いで発振させています。
HIDSimpleFramework
マイコンとPCをUSBのHIDクラスを利用して接続するシンプルなフレームワークです。対応デバイスは順次追加する予定です。
三条項BSDライセンスとなっていますのでご自由にご利用下さい。
RSA16
たった16ビットのRSAの実装です。
瞬時に解読されますが、それでも平文よりまし、という場合もあると思います。ご自由にご利用下さい。
その他オープンソースソフトウェア
その他、いろいろ公開しております。
USBサーモグラフィ OTK-THGシリーズ
USBサーモグラフィOTK-THG関係の資料です。
- シリアルモードの仕様
→PDFファイル - USBのプロトコル仕様(準備中)
- C#からサーモグラフィのデータを取得するサンプル。 →GitHubからダウンロード
- Linuxプログラムからサーモグラフィのデータを取得するライブラリ。 →GitHubからダウンロード
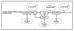
PIC24HJシリーズPLL計算機
自由度の高いPLLを搭載したPIC24HJシリーズで、目的のクロック周波数を得るためのPLLの設定を算出するWebアプリです。
TTL時計
74シリーズの汎用ロジックICで構成されたデジタル時計の回路図です。
はんだ付け練習も兼ねた組み立てキットはこちら →Webショップへ

